A place for general chat about the Jimny. Please make sure you post in the correct section on the site, this way it keeps the site tidy AND ensures you get a more relevant answer.
Suppliers/Dealers or anyone selling with a commercial view in mind CANNOT post here unless responding to a specific request of a member in a "wanted" post.
Suppliers include people "breaking for spares" on a regular basis, when purchasing spares members should ask a supplier what they contribute to the running of the forum particularly if contacted by a Private Message
Suppliers or Members who have contributed to the forum can be identifed by the logo.
Suppliers/Dealers or anyone selling with a commercial view in mind CANNOT post here unless responding to a specific request of a member in a "wanted" post.
Suppliers include people "breaking for spares" on a regular basis, when purchasing spares members should ask a supplier what they contribute to the running of the forum particularly if contacted by a Private Message
Suppliers or Members who have contributed to the forum can be identifed by the logo.
Windscreen seal failure
15 Feb 2024 19:27 - 15 Feb 2024 20:42 #254353
by mlines
Martin
2003 M13 early KAP build.
3" Trailmaster lift with 1.5 Spacers on front
Customised winch bumper and roll cage
235/85R16 Maxxis Bighorns on 16" Rims, 4:1 Rocklobster, Rear ARB locker and on-board air
Corrected arms all-round, rear disks, Recaro seats and harnesses
Replied by mlines on topic Windscreen seal failure
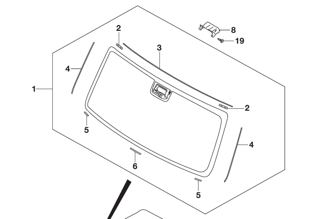
In Suzuki terms they are "Windshield Dams"
There is a upper dam and two side dams
They are installed on the glass before it is placed on the car and sit outside of the bonded area. Whilst they go most of the length of the top and sides they do not seem to join completely with each other at the sides
The installation instructions for them suggests they are attached (self adhesive??) to the windscreen before it is mounted. As you then install it you are supposed to ensure that they "fit to the roof panel and side panels" so they must have some sort of part in the body they clip or otherwise attach to.
Perhaps a key message in the workshop manual is "Do not apply excessive water pressure"
Parts 2 and 4 in the picture
There is a upper dam and two side dams
They are installed on the glass before it is placed on the car and sit outside of the bonded area. Whilst they go most of the length of the top and sides they do not seem to join completely with each other at the sides
The installation instructions for them suggests they are attached (self adhesive??) to the windscreen before it is mounted. As you then install it you are supposed to ensure that they "fit to the roof panel and side panels" so they must have some sort of part in the body they clip or otherwise attach to.
Perhaps a key message in the workshop manual is "Do not apply excessive water pressure"
Parts 2 and 4 in the picture
Martin
2003 M13 early KAP build.
3" Trailmaster lift with 1.5 Spacers on front
Customised winch bumper and roll cage
235/85R16 Maxxis Bighorns on 16" Rims, 4:1 Rocklobster, Rear ARB locker and on-board air
Corrected arms all-round, rear disks, Recaro seats and harnesses
Last edit: 15 Feb 2024 20:42 by mlines.
Please Log in or Create an account to join the conversation.
15 Feb 2024 19:29 #254354
by jlines
1986 SJ413JX (Lil Red)
2018 JB43 SZ4
2019 JB74 SZ5 (Gerald)
2023 JB74 LCV
Replied by jlines on topic Windscreen seal failure
Haven’t heard of any Gen 4s doing this. My evoque had a rubber seal pop out on the side of the pillar and scared the life out of me on the motorway as it slapped against the window. I think it got disturbed when I had the roof wrapped but equalling it would come off when I pressure washed the car so it could be the dealership has gone too close with the pressure washer. Even though I trust my dealer with my car I still don’t let them wash it and ask them to leave it.
1986 SJ413JX (Lil Red)
2018 JB43 SZ4
2019 JB74 SZ5 (Gerald)
2023 JB74 LCV
Please Log in or Create an account to join the conversation.
Less
More
- Posts: 1162
- Thank you received: 228
16 Feb 2024 09:57 #254368
by 300bhpton
Replied by 300bhpton on topic Windscreen seal failure
Well, the dealer just called. Apparently Suzuki are rejecting it as the warranty doesn't cover such things..... back to Customer Services I guess
Although I need to check, but I thought there was a 5 year bodywork warranty, I'd have assume such a thing might have been covered under that anyway.
Although I need to check, but I thought there was a 5 year bodywork warranty, I'd have assume such a thing might have been covered under that anyway.
Please Log in or Create an account to join the conversation.
17 Feb 2024 23:56 #254398
by Bob1050
Replied by Bob1050 on topic Windscreen seal failure
Jet washers in the hands of bunkernuts can do some very expensive damage to cars as well as the basics of quick car washing. When used incorrectly water and chemical cleaners can be driven behind all sorts of seals, decorative trim and door locks. I've seen warranty claims for damaged parts rejected for a number of cars of different marques, as jet washing has been carried out irresponsibly. High pressure water jets can be used in a range of applications that include removing scale, corrosion and painted surfaces, cutting steel sheet and accurately cutting complex shapes of automotive carpets. Would you really want to let some unskilled person with a jet washer loose to clean your car with one?
Please Log in or Create an account to join the conversation.
Less
More
- Posts: 9823
- Thank you received: 1967
18 Feb 2024 03:53 #254399
by Lambert
Temeraire (2018 quasar grey automatic)
Pavement princess or back road menace?
Bellerophon (2024 grello van daily)
ADORJ Attention Deficit Ooooh Race Jimny!
Replied by Lambert on topic Windscreen seal failure
You are of course up against the age old problem of burden of proof. It's OK if you had noticed at the point of collection but it's going to be increasingly difficult after that.
Temeraire (2018 quasar grey automatic)
Pavement princess or back road menace?
Bellerophon (2024 grello van daily)
ADORJ Attention Deficit Ooooh Race Jimny!
Please Log in or Create an account to join the conversation.
18 Feb 2024 08:52 #254404
by Scimike
Yokohama Geolanders, Sony head unit, NAUTILUS Air Horn, DRL conversion, Rear cargo space, Elvis Bobblehead, transfer Guard, Indian hanging Elephant, Koni Heavy track dampers, Custom SS exhaust, Voodoo Doll, Adventure Rack with LED ight bar, vintage ERIBA caravan usually attached (yes it's slow)
Replied by Scimike on topic Windscreen seal failure
This is a manufacturing problem, not a washing technique issue. We appear to be preparing the gallows for the poor person that washed a car......
We don't even know if they used a pressure washer, it could simply be time, rain and wind pressure, the stuff the front of a vehicle should survive.
We don't even know if they used a pressure washer, it could simply be time, rain and wind pressure, the stuff the front of a vehicle should survive.
Yokohama Geolanders, Sony head unit, NAUTILUS Air Horn, DRL conversion, Rear cargo space, Elvis Bobblehead, transfer Guard, Indian hanging Elephant, Koni Heavy track dampers, Custom SS exhaust, Voodoo Doll, Adventure Rack with LED ight bar, vintage ERIBA caravan usually attached (yes it's slow)
Please Log in or Create an account to join the conversation.
Time to create page: 0.229 seconds
